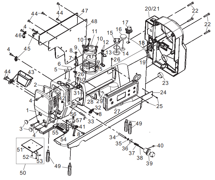
| 操作 (operation) |
数量 (quantity) |
零件编号 (number) |
零件品号 (Product number) |
零件名称 (Product name) |
|---|---|---|---|---|
| 1 | PFQ1Pro0101 | 前面板 | ||
| 2 | PFQ5Tt0102 | Q5Tt面板垫 | ||
| 3 | PF8420M-D3010107 | 橡皮塞12.5 | ||
| 4 | PF5550161 | 后盖板加长螺钉 | ||
| 5 | PF5550113 | 挑线连杆销螺孔塞(8.7) | ||
| 6 | PF5550112 | 针杆曲柄螺孔塞 | ||
| 7 | PFQ5110 | 三眼线钩 | ||
| 8 | PF5550317 | 右线钩螺钉GS0552 | ||
| 9 | PF900001511 | 绕线器垫片油封 | ||
| 10 | PF90000157 | 绕线器组件+黑色NBR橡胶圈 | ||
| 11 | PF90000131 | 绕线器紧固螺钉 | ||
| 12 | PF68425K19 | 油线支架螺钉 | ||
| 13 | PF9000013201 | 绕线切刀(铁) | ||
| 14 | BF700M320-ROHS | 油标垫 | ||
| 15 | PF5550824 | 油窗 | ||
| 16 | PF98000187 | 偏心轮调节孔塞 | ||
| 17 | PFQ514101 | 重机绕线夹线器(白色) | ||
| 18 | PF1310D239 | 螺钉 M4X6 | ||
| 19 | PF5550114 | 送料调节器孔塞 | ||
| 20 | PFQ1ProDKZJ0101 | Q1Pro电控主控箱220V | ||
| 21 | PFQ1ProDKZJ0201 | Q1Pro电控主控箱110V | ||
| 22 | PFQ1Pro0122 | 螺钉 M4-20 | ||
| 23 | PF5550115 | 下轴盲孔塞 | ||
| 24 | BZ3236 | Q5Tt型号牌(亮边) | ||
| 25 | SCJ6071 | 铆钉 | ||
| 26 | PF68425H33 | 螺钉 | ||
| 27 | PFQ1ProDKZJ0102 | Q1Pro电控操作面板 | ||
| 28 | PF5550314 | 二眼线钩 | ||
| 29 | BZ3141 | 黄底警告标贴(PFQ1139) | ||
| 30 | PF5550230 | 挑线杆护罩螺钉GS0551 | ||
| 31 | PFQ5126 | 挑线杆护罩(电镀) | ||
| 32 | PF5550316 | 右线钩 | ||
| 33 | PF9520MXDK021 | 大线钩组件 | ||
| 34 | PF90000329 | 松线辅钉 | ||
| 35 | SCJ1004 | 开口挡圈 | ||
| 36 | PF5550333 | 松线辅钉垫片 | ||
| 37 | PF5550334 | 松线辅钉弹簧 | ||
| 38 | PF6150131 | 松线钉 | ||
| 39 | PFQ531726B | 重机大夹线器组件(白帽) | ||
| 40 | PF5550330 | 夹线器螺钉GS48 | ||
| 41 | PFQ512902 | 新款左线钩 | ||
| 42 | PF9520MXDK02101 | 缓线勾紧固螺母 | ||
| 43 | PFQ1192 | 点动.灯开关组件 | ||
| 44 | PF555016 | 后窗板螺钉GS053 | ||
| 45 | PF99901511 | 线夹U2 | ||
| 46 | PF99901160 | 线夹U3 | ||
| 47 | PFQ1Pro0108 | 后窗板 | ||
| 48 | PFQ1Pro0109 | 后窗板垫 | ||
| 49 | PF555013 | 底板支柱GS0548 | ||
| 50 | PF5550638 | 推板部件 | ||
| 51 | PF555063801 | 推板 | ||
| 52 | PF555063802 | 推板簧 | ||
| 53 | PF555063803 | 推板螺钉 | ||
| 54 | PF5550636 | 针板(三排) | ||
| 55 | PF5550637 | 针板螺钉GS044 | ||
| 56 | PF5550117 | 卷边器座螺钉 SM11/64″*40 L=5 | ||
| 57 | PFQ50132 | 夹具座 |
